25级南京大学工程硕博专项 —— 中国华电
如果涉及相关保密信息泄露,请联系博主本人删除。
写在前面
可以参考一下这个:南大(工程专项) — postgraduate-recommendation 文档
报名对象:
-
无保研资格的学生也可报名(2022年)
-
有推荐免试研究生资格、本科学习成绩优异的推荐免试研究生。(2023年)
-
有推荐免试研究生资格、本科学习成绩优异的推荐免试研究生。(2024年)
- 邮件发送报名链接,无推荐面试资格的学生不会收到报名邮件。
本人绩点 4.3 / 5.0,专业排名40%左右。
**强烈建议有推免资格但是夏令营失误了的南软同学报名!**机会真的非常大,南大对于本校生真的很好!工程硕博专项每年的热度都在上涨,报的人也越来越多。第一年的培养和普通专硕一样,而且还拥有宿舍(隔壁专硕馋麻了)。并且经过企业同意后,还可以选择去其他公司实习(联培企业算是个保底),总之就是一个字:香。
每人8分钟时间 (实际可能会更短),包含3分钟的PPT个人展示。
老师是根据PPT当中的项目来提问的,有实习经历是很重要的加分项,项目经历不会深挖,更侧重于知道你在项目中具体做了什么,从而评估你的工程能力。
面试当中一定要表现自信一些,即便准备不是那么充分,也放宽心,努力展示自己最好的一面。
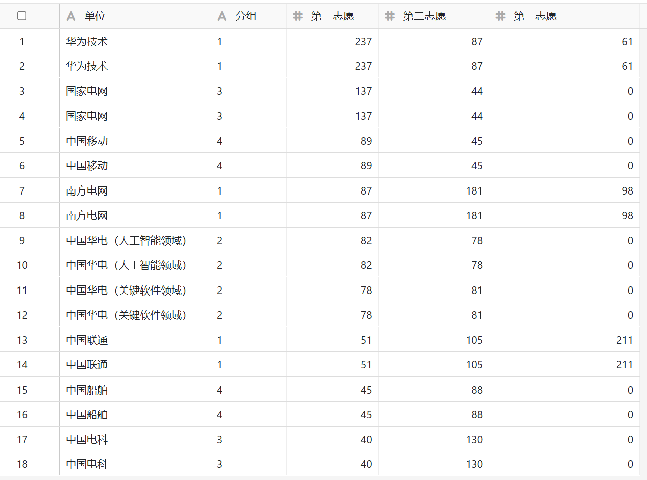
组1是华为、南方电网和中国联通,竞争非常激烈,招生老师说软院没太大竞争力(应该是我比较cai),建议我报组2,也就是中国华电。组3是国家电网和中国电科。组4是中国移动和中国船舶。

我报名的是组2:中国华电的工程硕博专项,不接受学制调剂(不想读博),接受方向调剂。方向分为两个:关键软件、人工智能。我报名的是关键软件,后面正选名额递补到我时,是人工智能方向,也是欣然接受了。
我展示的项目有 “COA-计算机组成原理实践”、“PRISM开源情报分析系统” 和 桂林银行的实习工作。
问题汇总
问1:COA计组项目中,磁盘调度策略是怎么实现的?
答:模拟了磁头读取,以及有多种方法实现不同的磁盘调度策略(比如FCFS、SCAN等)
问2:这个部分偏向于硬件实践还是软件实践?
答:软件实践。因为该项目是使用java代码来模拟一个简单的计算机组成,实现和逻辑是在软件中完成的。
问3:你在开源情报分析系统中是担任什么工作的?
答:我主要是负责前端开发工作。
问4:只负责前端开发吗,还有什么其他工作吗?
答:主要工作是前端开发,还有对于接口规范化的实现,以及一些项目设计的讨论决定等。
问5:你们这个开源情报分析系统是个人还是团队开发的?有多少人参与开发呢?
答:这是个六人小组项目,爬虫、前端、后端各两人。
录取结果
第二天招生老师便打电话告诉我,我是候补排名第一,候补到的概率很大。(感觉大家面试都差不多,应该就是看成绩和简历QAQ)
没过多少天,又电话告知我,前面有一人放弃,正选名额递补到我了,相当于是一个铁offer了。
当然,真正到 9.29 当天鸽南大的也不少,因此候补排名靠前都是有可能候补录取到的,拟录取当天一定要守在电脑前面!


